秘鲁乙组联赛 _被小米辞退的王腾成立新公司“今日宜休”,初创成员来自小米、华为等
信用平台出租(9990088.com)-开会_员平_台出租,皇冠信用盘/如何开户-占成_代理(登1登2代理登3(足球平台,界面新闻记者 | 宋佳楠
界面新闻记者 | 宋佳楠
被小米辞退4个月后,王腾成立了自己的新公司秘鲁乙组联赛 。
界面新闻获悉,1月8日,原小米中国区市场部总经理、REDMI品牌总经理王腾通过个人微博透露创业新动态,宣布成立新公司“今日宜休”,并透露初创核心团队成员均来自小米、华为等科技企业秘鲁乙组联赛 。
据王腾介绍,新公司主要研发睡眠健康相关产品秘鲁乙组联赛 。之所以选定该方向,首先由于当前睡眠情况成为不少人关心的健康问题。他以自己举例称,近几年的工作强度和压力比较大,每次前一天睡眠不好,第二天就会感觉很疲惫,从小米离开那段时间压力巨大更是如此。他跟很多朋友交流,发现生活和工作的压力让大家睡眠质量差、精力不足问题非常普遍。
其次,他认为社会对睡眠的价值理解有待提升秘鲁乙组联赛 。“最近几个月阅读了一些关于睡眠健康的书籍,发现我们对于睡眠的作用、睡眠不足的风险等都了解很少。”王腾说自己本科读的是生物信息专业,又做了十几年科技产品,结合睡眠相关的科学理论,有很多可以做的事情。
再者,新时代下AI大模型发展迅速,让很多产品的体验能大幅提升秘鲁乙组联赛 。“影响睡眠的因素很多,如光线、温度、声音、空气等等,我们可以通过更多的传感器结合大模型,主动感知人的状态,继而做主动决策、主动干预,让睡眠改善、精力管理成为可能。”王腾表示。

据他所述,新公司核心成员具备丰富的软硬件产品开发经验秘鲁乙组联赛 。目前公司正在招聘软硬件产品经理、健康/AI算法工程师、脑科学睡眠健康专家、ID&CMF设计师(智能穿戴/家居方向)等多个职位人员。前期公司更倾向于找有一定工作经验的人加入,工作地点在北京,未来会在杭州、深圳设分部。
界面新闻查询天眼查网站获悉,“今日宜休”全称为北京今日宜休科技有限责任公司,法定代表人为王腾,注册资本100万人民币,于2026年1月6日成立秘鲁乙组联赛 。

展开全文
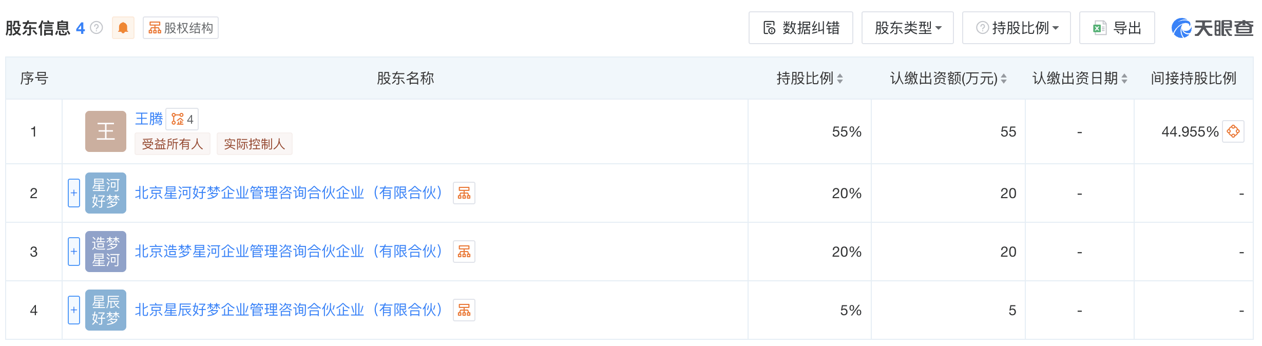
今日宜休股东信息 图片来源:天眼查网站
目前王腾是该公司实际控制人,持股比例为55%,其他股东还包括北京星河好梦企业管理咨询合伙企业(有限合伙)、北京造梦星河企业管理咨询合伙企业(有限合伙)、北京星辰好梦企业管理咨询合伙企业(有限合伙)秘鲁乙组联赛 。但星河好梦、造梦星河、星辰好梦这三家公司的实际控制人同样为王腾。

今日宜休股权穿透图 图片来源:天眼查网站
王腾的职业履历与小米深度绑定秘鲁乙组联赛 。公开资料显示,他2016年加入小米,从手机部产品经理做起,逐步成长为小米核心高管,曾任小米中国区市场部总经理、REDMI品牌总经理,主导过多款红米旗舰机型的产品规划与市场推广,被业内称为“红米操盘手”。其个人微博粉丝量达186万,曾是小米高管中极具用户影响力的一员。
但在2025年9月,小米集团职业道德委员会发布通报,指出王腾存在泄露公司机密信息、利益冲突等违规违纪行为,依据公司制度给予辞退处分秘鲁乙组联赛 。
面对舆论热议,王腾先后两次通过微博回应,承认自身失职行为并深刻反省,同时否认“窃取机密出售”“收受贿赂” 等网传谣言,还直言“未来仍会支持小米和REDMI”秘鲁乙组联赛 。
对于王腾的创业选择,有评论认为,其在小米积累的产品运营经验和用户资源,或为新公司发展奠定基础,但后续产品能否获得市场认可仍面临极大不确定性秘鲁乙组联赛 。
猜你喜欢
- 2026-01-09英格兰超级联赛_0-0!这场对决!人们记住的将不是进球!而是马丁内利的粗野行径
- 2026-01-09足球平台出租网 _土耳其飞广州航班起飞半小时,空姐通知发生机械故障返航,盘旋数圈后降落,航司最新回应
- 2026-01-08波兰甲组联赛 _日本发布航行警报,中国在东海开采油气?要求接受其不合理主张,中方直接无视!
- 2026-01-08秘鲁乙组联赛 _被小米辞退的王腾成立新公司“今日宜休”,初创成员来自小米、华为等
- 2026-01-07皇冠信用盘 _正在影响上海!别开窗,减少外出!专家:还有一波上升过程,周六才能彻底结束
- 2026-01-07中国超级联赛 _两个湖南“蛮子”的湘超赌约:结果一人徒步300公里,一人徒步180公里
- 2026-01-06切尔西vs水晶宫 _比福建舰还大!4艘万吨巨船同时出坞,美这才明白,输给中国了
- 2026-01-06荷兰甲组联赛 _乌克兰宣布俄罗斯战败,莫斯科下了死命令,30天内要把场子找回来
- 2026-01-06芬兰丙组联赛 _杜兰特26+10amp;三分绝杀布克27分 火箭赛季三杀太阳
- 2026-01-06爱沙尼亚乙组联赛 _俄代表:美国武装侵略委内瑞拉意味着“无法无天时代的回归”
- 2026-01-06俄罗斯女子超级联赛 _田朴珺回应和王石离婚:没有删照片,没有婚变
- 2026-01-06如何申请皇冠信用网会员 _家长称3岁男童发烧去医院输液后死亡,医调委:目前在做医疗损害鉴定


网友评论