皇冠登一登二登三区别_终身禁止!火箭军倒查九年 揪出采购掮客 围标央企浮出水面
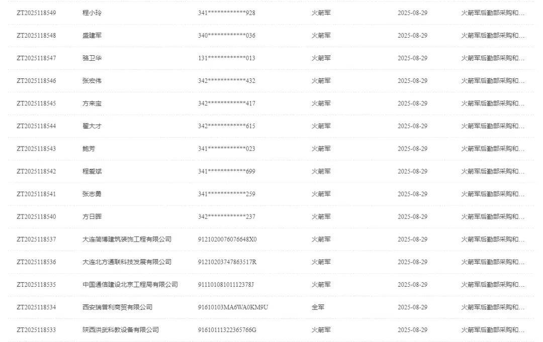
世界杯皇冠足球平台(www.9990088.com)-开会_员出_租平_台,皇冠信用网/—开会员账号—(招登1登2登3(平台出租,8月28日至9月1日,火箭军后勤部采购和资产管理局发布180条公告,宣布终止74位评标专家和116家供应商的资格皇冠登一登二登三区别。这些供应商被停止参与投标军队采购项目的权利,评标专家则失去参与军队项目评审的资格。
评标专家的处罚理由基本都是“评审错误影响评审结果”,记者注意到,这些评标专家涉及的项目年代都很久远,有一位专家是因为在2016年的一个项目中评审错误而失去评标资格皇冠登一登二登三区别。也就是说,采购部门在审核9年前的采购项目,寻找违规案件并对相关人员和企业进行处罚。
还有一些专家的错误就非常严重了,比如有一位专家,他的违规行为被定义成“掮客”皇冠登一登二登三区别。
所谓“掮客”是指既不拥有产品所有权,又不控制产品实物价格以及销售条件,只是在买卖双方交易洽谈中起媒介作用的中间商皇冠登一登二登三区别。本应客观中立评审的专家变成了“掮客”对采购秩序的影响非常恶劣。因此该专家被终身禁止评审军队采购项目,他控股或管理的企业也禁止参加军队采购活动,同时终身禁止他代理其他供应商参加军队采购活动。
而被处罚的供应商中也有央企的身影皇冠登一登二登三区别。该公司具备通信工程施工总承包一级资质、电子与智能化工程专业承包一级资质,参与建设了国家“八横八纵”骨干光缆通信网络、南极科考通信保障等重大工程,并承接多项国家级援外通信建设项目。
军队采购网公告显示,该公司在军队采购项目中存在围标行为,因此自2025年8月29日起暂停其参加火箭军物资工程服务采购活动资格皇冠登一登二登三区别。
某邮政速递物流股份有限公司因投标提供虚假材料而被取消全军采购资格皇冠登一登二登三区别。



猜你喜欢
- 2025-12-19hga050怎么注册 _云南曲靖男生杀害同班女同学一案即将开庭,检方以犯故意杀人罪、强奸罪对其提起公诉
- 2025-12-18皇冠信用網代理如何申请 _米兰冬窗新星引援:20岁黑山前锋科斯蒂奇的潜力与挑战
- 2025-12-18怎么开通皇冠信用網口 _广州市越秀区委书记郭昊羽履新广东省住建厅党组书记
- 2025-12-18皇冠信用盘登3出租 _为何日本不怕中国?日本军迷说实话:无知者无畏,不知中国有多强!
- 2025-12-18皇冠信用盘账号开通 _砰!浙江女子刚坐进车里,一把菜刀砸在眼前,随后剪刀又飞来
- 2025-12-18明尼苏达森林vs印第安纳步行者 _石破茂预言果然应验,中方还没开始反制,日企就已经撑不住了!
- 2025-12-18迈阿密热火vs圣安东尼奥马刺 _我国发现新矿物,正式命名为金秀矿
- 2025-12-18孟菲斯灰熊vs波士顿凯尔特人 _四川高速上一汽车突发自燃!车内两人闻到异味后果断弃车,成功逃生
- 2025-12-17捷克 vs 克罗地亚 _强硬40天后,高市早苗还在“挤牙膏”:台湾不太可能符合日本行使自卫权条件
- 2025-12-17皇冠信用网网址 _辩论不过我大使,日方竟攻击中方发言,高市早苗:盼和平解决台湾问题
- 2025-12-16皇冠登3平台出租 _欧洲多国及欧盟领导人发表联合声明:承诺为乌提供安全保障
- 2025-12-16皇冠信用网哪里申请 _中国发起雷霆反制!赶在高市早苗之前,被严厉制裁的日本人出现了


网友评论